Iklan 300x250

39 john deere f525 parts diagram

John Deere F525 Exploded View parts lookup by model. Complete exploded views of all the major manufacturers. It is EASY and FREE

No information is available for this page.Learn why

John deere f525 parts diagram. 48 inch mower deck parts for f525 after machine serial number 130001. We have a huge inventory of john deere parts in stock and placereceive orders for parts every day. John deere 757 z trak mower parts john deere 757777 60 mulchondemand mower deck parts diagram.

John deere f525 parts diagram

John deere f525 parts diagram

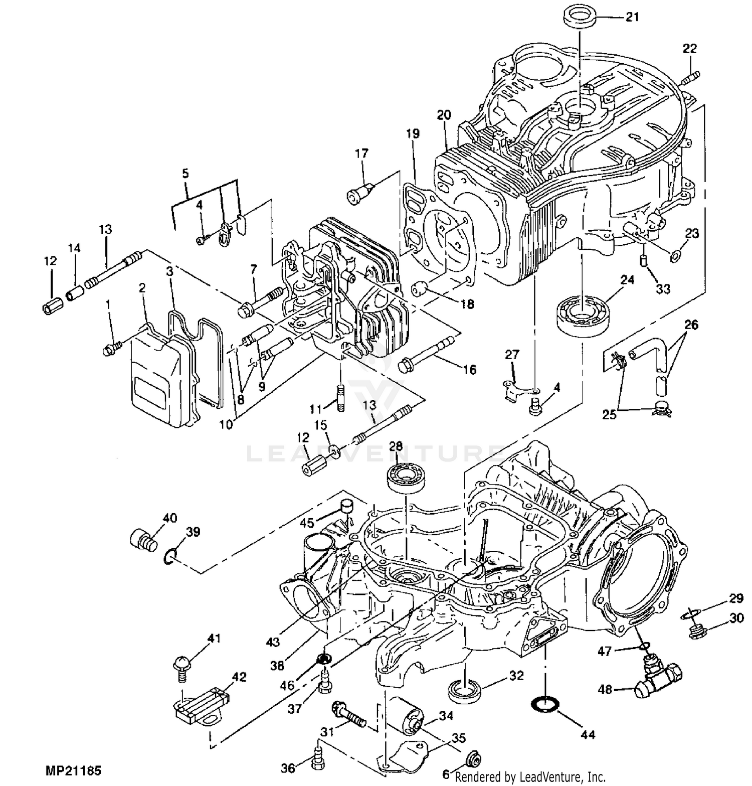
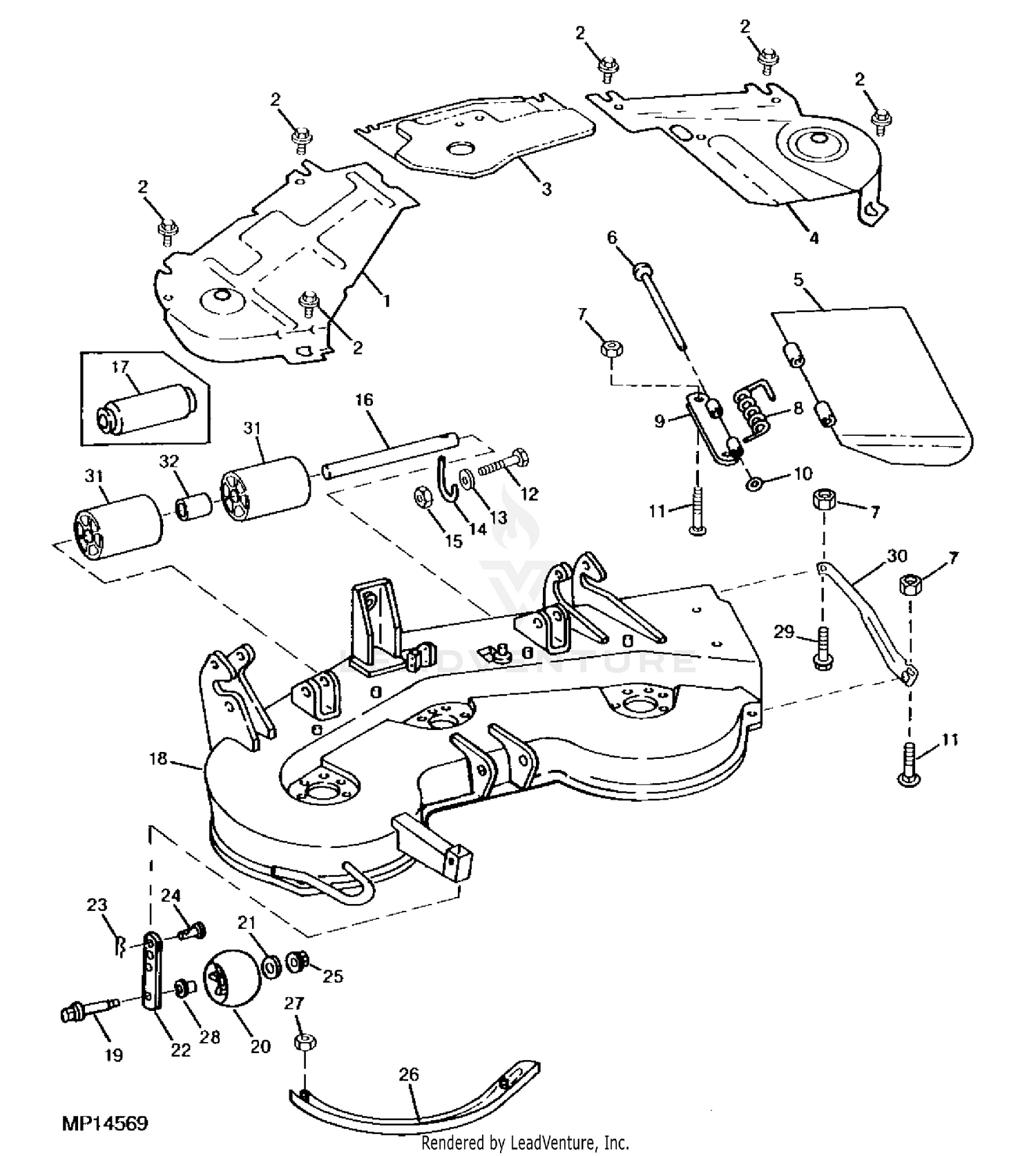
Diagram group F510 and F525 Front Mowers John Deere : 20 ENGINE AND POWER TRAIN CCE. 30 FUEL AND AIR CCE. 40 ELECTRICAL CCE. 50 STEERING, BRAKES AND FOOT CONTROL LINKAGES CCE. 60 WHEELS, NON-POWERED AXLES, FRAME, SHEET METAL AND OPERATOR'S STATION CCE. 70 MOWER DECK CCE. 90 LABELS CCE.

John Deere F525 Riding Mower Parts including mower blades, deck belt, oil and air filter along with Parts Look-up Diagrams/Schematics.

TM1475 (23OCT95) F510/F525 Front Mowers 131295 PN=4 JOHN DEERE DEALERS This is a complete revision for TM1475—F510 and F525 Residential Front Mowers. Discard TM1475 dated (01MAY92) and replace with this manual. New information added to this manual includes: 1. Updated engine repair procedures and specifications. 2.

John deere f525 parts diagram.

Service Schedule Parts for a John Deere F525 Front Mower & Parts List. While your John Deere machine is certainly built with quality parts, they have a limited life. Good news is you can easily service your machine yourself using a John Deere maintenance kit or service kits or by getting the specific John Deere part needed to keep your John Deere mower or tractor running for a long time.

DOWNLOAD John Deere F525 Parts Diagram. Close DOWNLOAD. John Deere F525 Parts Diagram. I have a deere F 17hp Keeps burning up spark plug coil, also oil John deere F 17 Hp Kaw. I am looking for a wiring diagram. Picture Of John Deere F Parts Diagram. Diagram. Free Template John Deere F Parts Diagram.

Due to the employee strike at John Deere, we are not receiving estimated in stock dates for all parts and equipment. John Deere PARTS LOOKUP John Deere Parts Diagrams, John Deere F510 & F525 Front Mount Mower Decks 48" Mower Deck -PC2262

A Complete Listing Of All John Deere Lawn Tractor Parts Is Available Using Illustrated Diagrams. This quick parts reference guide will provide you with the most common John Deere F525 Front Mower Parts 48 Mower Deck. These John Deere Lawn Tractor Parts may include: Tune Up Kit, Spark Plug, Mower Blades, Traction Drive Belt, Transmission Belt ...

Buy Genuine OEM John Deere parts for your John Deere F725 FRONT MOWERS and ship today! Huge in-stock inventory of OEM John Deere parts.

John Deere Model F525 Zero Turn Mower Parts -

Deere PA540 Kawasaki engine, where is the drain plug for the ...

Deere pa540 kawasaki engine, where is the drain plug for the ...

NEED DRIVE BELT DIagram for drive belt on a john deere f525 ...

Need drive belt diagram for drive belt on a john deere f525 ...

John Deere F510 F525 Front Lawn Mower Tractor Parts Manual PC2262 14 17 h.p  | eBay

John deere f510 f525 front lawn mower tractor parts manual pc2262 14 17 h.p | ebay

John Deere F525 F510 Front Mount Mower 48

John deere f525 f510 front mount mower 48" mower deck | ebay

John Deere Parts Diagrams, John Deere F510 & F525 Front Mount ...

John deere parts diagrams, john deere f510 & f525 front mount ...

belt diagram for john deere l110,Free delivery,www.workscom ...

Belt diagram for john deere l110,free delivery,www.workscom ...

suneducationgroup.com 2 Am121342 Spindle Assembly for John ...

Suneducationgroup.com 2 am121342 spindle assembly for john ...

John Deere F525 Front Mower (Shown W/ Optional High-Back Seat ...

John deere f525 front mower (shown w/ optional high-back seat ...

John Deere F510 F525 Repair Manual Residential Front Mowers ...

John deere f510 f525 repair manual residential front mowers ...

John Deere Parts Diagrams, John Deere F525 Front Mower (Shown ...

John deere parts diagrams, john deere f525 front mower (shown ...

John Deere F525 Front Mower (Shown W/ Optional High-Back Seat ...

John deere f525 front mower (shown w/ optional high-back seat ...

John Deere F525 Deck Belt Replacement DIY Save Money Lawn ...

John deere f525 deck belt replacement diy save money lawn ...

John Deere F510 F525 Repair Manual [Front Mower] – YouFixThis

John deere f510 f525 repair manual [front mower] – youfixthis

SOLVED: Need belt diagram John Deere F525. Help please - Fixya

Solved: need belt diagram john deere f525. help please - fixya

John Deere F525 Front Mower (Shown W/ Optional High-Back Seat ...

John deere f525 front mower (shown w/ optional high-back seat ...

John Deere F525 Front Mower (Shown W/ Optional High-Back Seat ...

John deere f525 front mower (shown w/ optional high-back seat ...

Pin on John Deere Technical Service Manual

Pin on john deere technical service manual

John Deere F525 Front Mower (Shown W/ Optional High-Back Seat ...

John deere f525 front mower (shown w/ optional high-back seat ...

John Deere 54

John deere 54" z900a series mower deck parts

John Deere Parts Diagrams, John Deere F525 Front Mower (Shown ...

John deere parts diagrams, john deere f525 front mower (shown ...

John Deere Parts Diagrams, John Deere F510 & F525 Front Mount ...

John deere parts diagrams, john deere f510 & f525 front mount ...

John Deere F525 Front Mower F525 W/48

John deere f525 front mower f525 w/48" deck -pc2262 1990 ...

John Deere F525 Front Mower (Shown W/ Optional High-Back Seat ...

John deere f525 front mower (shown w/ optional high-back seat ...

John Deere F510 F525 Residential Front Mower Workshop Service ...

John deere f510 f525 residential front mower workshop service ...

John Deere F510 & F525 Front Mount Mower Decks 38

John deere f510 & f525 front mount mower decks 38" mower deck ...

John Deere 48 in. Deck Drive Belt-GX21833 - The Home Depot

John deere 48 in. deck drive belt-gx21833 - the home depot

John Deere F525 problems | My Tractor Forum

John deere f525 problems | my tractor forum

Calaméo - John Deere F510 F525 Front Mower Service Manual

Calaméo - john deere f510 f525 front mower service manual

John Deere F510 Front Mower Parts

John deere f510 front mower parts

John Deere F525 Front Mower (Shown W/ Optional High-Back Seat ...

John deere f525 front mower (shown w/ optional high-back seat ...

John Deere F525 Front Mower F525 W/48

John deere f525 front mower f525 w/48" deck -pc2262 1990 ...

John Deere F510, F525 Front Mowers Service Manual TM1475

John deere f510, f525 front mowers service manual tm1475

john deere lt166 belt diagram,New daily offers ...

John deere lt166 belt diagram,new daily offers ...

John Deere F510 and F525 Residential Front Mowers TM1475 Technical Manual  PDF

John deere f510 and f525 residential front mowers tm1475 technical manual pdf

John Deere F525 Front Mower Maintenance Guide & Parts List

John deere f525 front mower maintenance guide & parts list

JOHN DEERE F510 F525 RESIDENTIAL FRONT MOWER WORKSHOP SERVICE REPAIR MANUAL  | eBay

John deere f510 f525 residential front mower workshop service repair manual | ebay

John Deere F510 And F525 Residential Front Mowers Workshop Manual

John deere f510 and f525 residential front mowers workshop manual

John Deere F525 Front Mower (Shown W/ Optional High-Back Seat ...

John deere f525 front mower (shown w/ optional high-back seat ...

0 Response to "39 john deere f525 parts diagram"

Post a Comment

Iklan Atas Artikel

Iklan Tengah Artikel 1

Iklan Tengah Artikel 2

Iklan Bawah Artikel