41 cub cadet hydrostatic transmission diagram
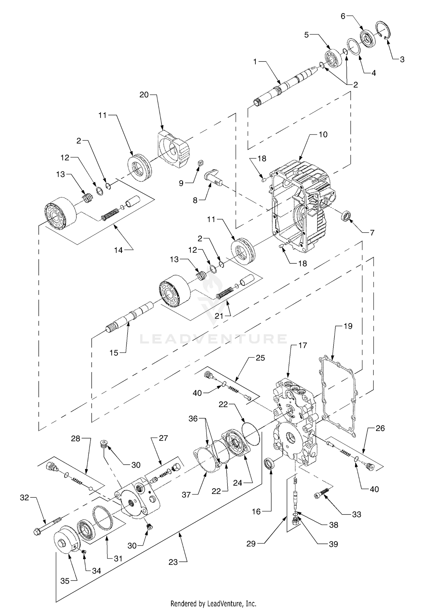
Oct 02, 2019 · Craftsman Hydrostatic Transmission Diagram Craftsman T210 Turn Tight 18 Hp Hydrostatic 42 In Riding Lawn Mower. Craftsman Hydrostatic Transmission Diagram Diagram In Addition Snapper Drive Belt Diagram Besides Lawn Mower. Craftsman Hydrostatic Transmission Diagram Cub Cadet Lt1045 Deck Diagram Preview Wiring Diagram Hydrostatic Transmission diagram and repair parts lookup for Cub Cadet 782 - Cub Cadet Garden Tractor Order Status Customer Support 512-288-4355 My Account Login to your PartsTree.com to view your saved list of equipment.
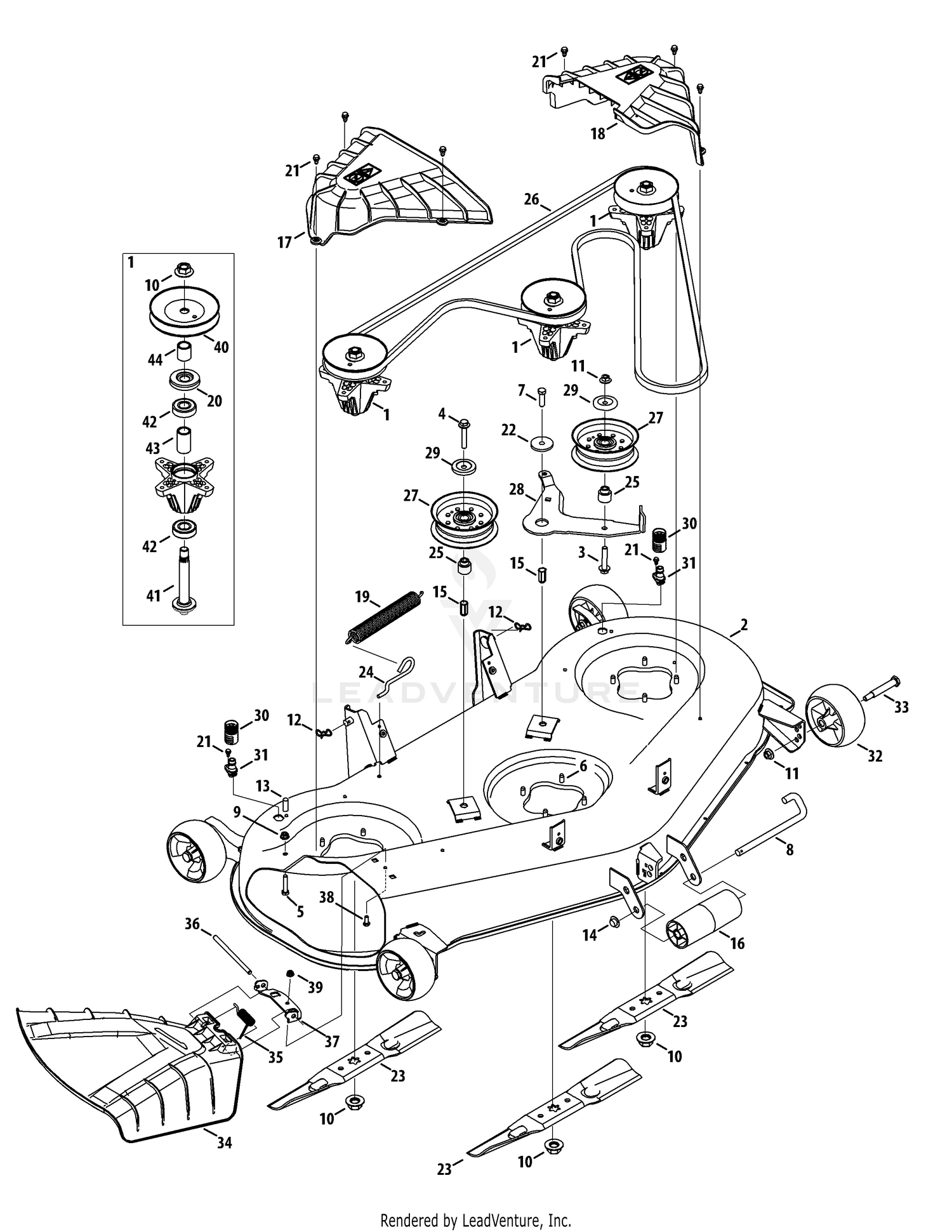
on Cub Cadet Ltx 1045 Drive Belt Diagram. MTD Cub Cadet LTX Hydro Drive Belts Replacement - Overall view; #1. Overall view. Overall view (#1). The engine pulley is at the left and the transmission. Hydrostatic Lawn Tractor — LTX Form No. NOTE: Refer to the Assembly & Set-Up section of this manual for. Gasoline and Oil Cub Cadet dealer to have ...

Cub cadet hydrostatic transmission diagram
Aug 01, 2017 · Hydrostatic transmissions feature control rod linkage from the speed control lever (or foot pedal on some models) to the hydrostatic transmission. This control rod connects to the hydrostatic transmission at a regulator valve, which determines the rate of fluid flow through the transmission and the output speed to the wheels. Hydrostatic Transmission. Item#: 918-04270B. $898.47. Or. $75/mo No interest if paid in full within 12 months2. Interest will be charged from the purchase date if the purchase balance is not paid in full at the end of the promotional period or if you make late payments. Advertised minimum payment is greater than required minimum payment. Cub Cadet LGT1054 Hydrostatic Transmission rebuild. Transmission is beginning to slip and will not go up a. Do they have - Answered by a verified Technician. We use cookies to give you the best possible experience on our website. ... please send me the diagram and pics and part numbers.
Cub cadet hydrostatic transmission diagram. Cub Cadet Parts Manuals. Cub Cadet lawn care equipment has been built to last through the harshest of weather conditions. They are a leader in building smart outdoor power equipment with advancements that make their products better, and provide a better user experience. Cub Cadet equipment is award-winning. ROBERT VOELZ. Nov 22, 2006. #1. I am looking at a 782D to purchase, but it has ahydro problme. When it is first run, the deck and trans operate normally. When it gets hot the trans will work when under a load, but will freewheel when not, and the deck will not move. It has had a fluid flush and replacement with a new filter. Cub Cadet 5234DE (54AE544-710, 54BE544-710, 54CE544-710) Tractor Parts Hydrostatic Transmission leak Hydrostatic Transmission leak. Warhog. 8. ... could you post a link to the diagram please. it would make it a little easier to find. I cannot be of much help, but the link might be of benefit to the guys who can. ... Best thing to do is follow the instructions in a service manual for your model Cub Cadet.
Cub Cadet Parts Diagrams, Cub Cadet LTX1046KW Tractor (2013) 13AF93AT010 (2013) 13WF93AT010 (2013) ... Hydrostatic Transmission (Tuff-Torq 918-05010) Kawasaki FR651V-S08 Air Filter & Muffler Kawasaki FR651V-S08 Carburetor. Kawasaki FR651V-S08 Control Equipment ... Cub Cadet has been making hydrostatic transmission lawn tractors for decades. International Harvester manufactured its first models under the brand name International Cub Cadet, which was later ... About 80% of hydraulic failure in a cadet hydrostatic transmission of Cub Cadet 1050 or other model is caused by air contamination. What this means is this. When air finds its way into the hydraulic system by a faulty pump or a system breach, the hydraulic fluids become contaminated. Note that, air contamination in a cadet hydrostatic ... Cub Cadet LT1042, LT1046, LT1042, LT1045, LT1050 Hydrostatic Transmission, Changing the Deck Belt . Hydrostatic Transmission, Changing the Deck Belt, WARNING ...
Cub cadet hydrostatic transmission diagram. Ih international harvester cub cadet hydrostatic transmission repair manual. The transmission control rod causes the tractor to rock slightly forward or backward when the engine is powered high idle speed while it is in neutral. Introducing cub cadet rapid response text services cub transmission ... Your Cub Cadet tractor should try to move against the parking brake if the transmission is operating properly. If the mower transmission doesn’t engage, move the shift lever back to the neutral position and release the clutch. Step 4: Engage and Disengage the Transmission Bypass. Your Cub Cadet hydrostatic transmission has a transmission bypass. I have an LT 1050 Cub Cadet with the hydro-static transmission. Tractor is about 4 years old with 70 hrs. My son was cutting the grass the other day and the tractor stopped moving. Engine was running, blades still turning, but he had no forward or reverse. Haven't had a chance to check the fluid level. According to the manual it is maintenance ... Cub Cadet Hydrostatic Transmission Fluid is, at a basic level, a 10 wt, non-detergent, oil. It has additives to prevent foaming (cavatation can ruin a hydrostat in short order), retard free moisture and maintain a stable viscosity over a wide range of operating temperatures. Temps of 180F are not uncommon in hydrostats.
Lookup Parts via Diagram. Use our parts diagram tool below to find the parts you need for your machine. Select the model and year, then browse the parts diagrams to find the right part. Add to cart when you're ready to purchase and we'll ship it to you as soon as possible! This is the most current part for this model.
Genuine Cub Cadet Hydro Transmission Assembly (RH) 918-06997. This part replaces 618-06997. Please verify the original Cub Cadet part number in your owner's manual or on the appropriate parts diagram of your model for correct location and fitment of this item. We are an Authorized Cub Cadet Dealer.
Cub Cadet Hydrostatic Transmission 918-06079. Item: 918-06079 | SKU: MTD-CubCadet-918-06079. Rated 0 out of 5. MTD Cub Cadet 918-06079 TRANS-HYDRO HTE 10. $ 1,896.50. Guaranteed Low Price. FREE Shipping On All Orders $75+*. *Free Shipping is not available on oversized items such as hoods, engines, decks, etc. *Excludes Alaska and Hawaii.
Cub Cadet Parts Diagrams, Cub Cadet XT1-LT42 Tractor (2015) 13AVA1CS009 (2015) 13AVA1CS056 (2015) 13WVA1CS009 (2015) 13WVA1CS010 (2015) ... Hydrostatic Transmission (Tuff-Torq 918-06972) Kohler SV541-3212 Air Intake & Filtration. Kohler SV541-3212 Blower Housing & Baffles. Kohler SV541-3212 Controls ...
Up top where the advertisers are, is a box called 'Cub Cadet Parts Lookup' , click on that, then put in model 80, then pick 80 on resulting list. You will get area on right that lets you pick 'parts'. Now you got a list, pick 'Drive'. You will see item 26 a blower fan (759-3273) but you need addl parts as indicated.
Cub Cadet Parts Diagrams, Cub Cadet 1650 2050067U 2050070U 2050670U . Arm Rest. Attachment Battery Holder. Brake Caliper Assembly-Tractors With Caliper Brakes ... Hydrostatic Transmission. Ignition & Starting. Noise Isolation. Pedestal. Protective Canopy. PTO Clutch-Ogura Clutch (silver In Color) PTO Clutch-Warner Clutch (black In Color) ...
Hydrostatic Transmission - Rebuild - Sundstrand Hydro Transmission. Toll Free: 1-800-618-8738 *Free outdoor power equipment tech support Local 651- 437-7199 jims.tractors@gmail.com or 651-208-7199 cell We are open Mon-Fri 10 a.m. to 7 p.m. Sat 10 am to 3 pm - CST Sunday Closed Repowered Equipment works better than new
Cub Cadet 125 Hydrostatic Transmission Change Assembly. Diagrams Shown are for U.S. Models. Hydrostatic Transmission. Prices shown are USD. Ref# Part. Price. Qty . Transmission Assy, Hydrostatic Drive. 717-3032. 1. Housing Assy (Includes Ref. No. 2) IH-398560-R91 .
Cub Cadet 1650 2050067U 2050070U 2050670U Hydrostatic Transmission | Shank's Lawn Cub Cadet. 4900 Molly Pitcher Highway. Chambersburg, PA 17202 US. Contact Us. Home. Parts By Equip Type. Lawn Garden Tractor Parts. Cub Cadet XT1 Enduro Series Tractor Parts. Cub Cadet XT2 Enduro Series Tractor Parts.
Each individual transmission model requires specific fluid for proper operation. Please refer to the specific Cub Cadet product Operator's Manual for product specific information and lubrication requirements.
Cub Cadet repair parts and parts diagrams for Cub Cadet 1450 (2050065U) - Cub Cadet Garden Tractor Order Status Customer Support 512-288-4355 My Account Login to your PartsTree.com to view your saved list of equipment.
Hydro-Gear® Transmissions and Pumps Hydro-Gear® Parts, Diagrams and Manuals. Hydro-Gear® transmissions are among the best selling and most popular in the US and worldwide because of their low price and high quality. We carry the complete line of genuine Hydro-Gear® parts, transaxles, transmissions and pumps.
Hydrostatic Transmission diagram and repair parts lookup for Cub Cadet 107 (2050038U) - Cub Cadet Garden Tractor
Many hydrostatic transmission problems on a Cub Cadet tractor are due to a transmission control rod misalignment. The transmission control rod causes the tractor to rock slightly forward or backward when the engine is powered high idle speed while it is in neutral. If your tractor has been in use for a few years, this form of 'creeping' may occur. Troubleshoot the hydrostatic transmission control rod first to avoid unnecessary and costly transmission repairs.
Tractor Science: The Hydrostatic Transmission By Norman NgThe transmission allows an engine’s power to be multiplied and manipulated to drive your tractor forward and backward. It’s an amazing device that makes your tractor a tractor. This article is focused on a specific type of transmission: The Hydrostatic Transmission. We are going to use the Sundstrand Series 15 Type U as an example.
Cub Cadet LGT1054 Hydrostatic Transmission rebuild. Transmission is beginning to slip and will not go up a. Do they have - Answered by a verified Technician. We use cookies to give you the best possible experience on our website. ... please send me the diagram and pics and part numbers.
Hydrostatic Transmission. Item#: 918-04270B. $898.47. Or. $75/mo No interest if paid in full within 12 months2. Interest will be charged from the purchase date if the purchase balance is not paid in full at the end of the promotional period or if you make late payments. Advertised minimum payment is greater than required minimum payment.
Aug 01, 2017 · Hydrostatic transmissions feature control rod linkage from the speed control lever (or foot pedal on some models) to the hydrostatic transmission. This control rod connects to the hydrostatic transmission at a regulator valve, which determines the rate of fluid flow through the transmission and the output speed to the wheels.
0 Response to "41 cub cadet hydrostatic transmission diagram"
Post a Comment