44 craftsman snowblower carburetor diagram
Briggs Engine Parts. Repair your Briggs and Stratton engine with air filters, spark plugs, oil filters, starters, and Briggs maintenance kits. OEM Briggs parts for Vanguard, ELS, Pro Series, Intek and Quantum engines. This is a how to remove a carburetor on a quiet technology Sears craftsman 26 inch snow thrower model 247.886940. The engine model number is 270 QU. This mac...
craftsman snow blower carburator and linkage diagram. Report This by Manage My Life. December 28th, 2012 . I need a diagram of the carburator and linkage hookup on a craftsman snowblower model # 536884300. Share it! Get more answers from the people in your networks. Tags . Craftsman Exclusives, Craftsman, Electric Snowblowers, Snow Removal Equipment. Click to remove this tagging. 2 Answers ...

Craftsman snowblower carburetor diagram
27.11.2021 · Craftsman gt 3000 carburetor. It's been running fine for about 3 years and then it started dying a few minutes after starting up. Craftsman 19. A wiring diagram is a simplified conventional pictorial depiction of an electric circuit. 75 Torque 190cc 22" Briggs & Stratton Push Lawn Mower Owner's Manual. 257281 Owner's Manual Owner's manual (52 pages) Ventrac HP720 Owner/operator's … Pro Chaser 247.887801 Carburetor for Craftsman 247.116830 247.887800 Snowblower Fits MTD Yard Machine 31A-2M1E706 31AS2S1E700 31AS2S1E795 Remington RM2100 RM2140 Cub Cadet 31A-2M1E752 Snow Thrower 4.4 out of 5 stars 28 LotFancy 632334A Carburetor for Tecumseh 632334 632111 640334A 632370A Carburetor, HM70 HM80 HMSK80 HMSK90 Engines, 38080 824 Snow Blower Thrower Craftsman Toro Troybilt Carburetor. 4.4 out of 5 stars. 95. $11.50.
Craftsman snowblower carburetor diagram. Simply search by the make and model of your snowblower to find the right manual. If you don't know the model number, don't worry - you can scroll through the list of Craftsman snowblower manuals and see the manual covers at a glance, which typically show a picture of the snowblower and some of the basic specs. tecumseh carburetor diagram snowblower. tecumseh throttle governor 5 hp hssk50. help governor linkage tecumseh over revving. We collect a lot of pictures about 5.5 Snowblower Tecumseh Carburetor Governor Linkage Picture. and finally we upload it on our website. Many good image inspirations on our internet are the most effective image selection. Get the parts you need here: http://www.ereplacementparts.com/snowblower-parts-c-18715_18804.htmlThis tutorial will show you how to remove, rebuild, clean, f... The best way to find parts for Craftsman snow thrower model 247.88199 / 2014 is by clicking one of the diagrams below. You can also browse the most common parts for Craftsman snow thrower model 247.88199 / 2014.
26-IN. 208CC ELECTRIC START TRACK DRIVE SNOW BLOWER (SB710) CMXGBAM1054540. 21-IN. 208CC ELECTRIC START SINGLE-STAGE SNOW BLOWER (SB270) CMXGBAM1054540. Find parts for your Craftsman B210 21" Single-Stage Snow Blower CMXGBAM1054538. Parts diagrams and manuals available. Free shipping on parts orders over $45. the Carburetor diagram tecumseh help you to defines all its parts and functions the Carburettor made by them. It proves the big help under ... DeOnna Padilla. ... This happens to be a Craftsman 4.0hp engine, but this procedure is the same on most small engine carburetors. W. Wind rider. Car FYI. Kohler Engine Parts. Craftsman Snowblower Carburetor Repair Kit. Genuine OEM Part # 631021B | RC Item # 1606506. Watch Video. $5.88. ADD TO CART. Tecumseh carburetor repair kit. If the carburetor is clogged, the engine won't get enough fuel. As a result, the engine may not start or may run poorly. Craftsman Snowblower Carburetor Repair Kit.
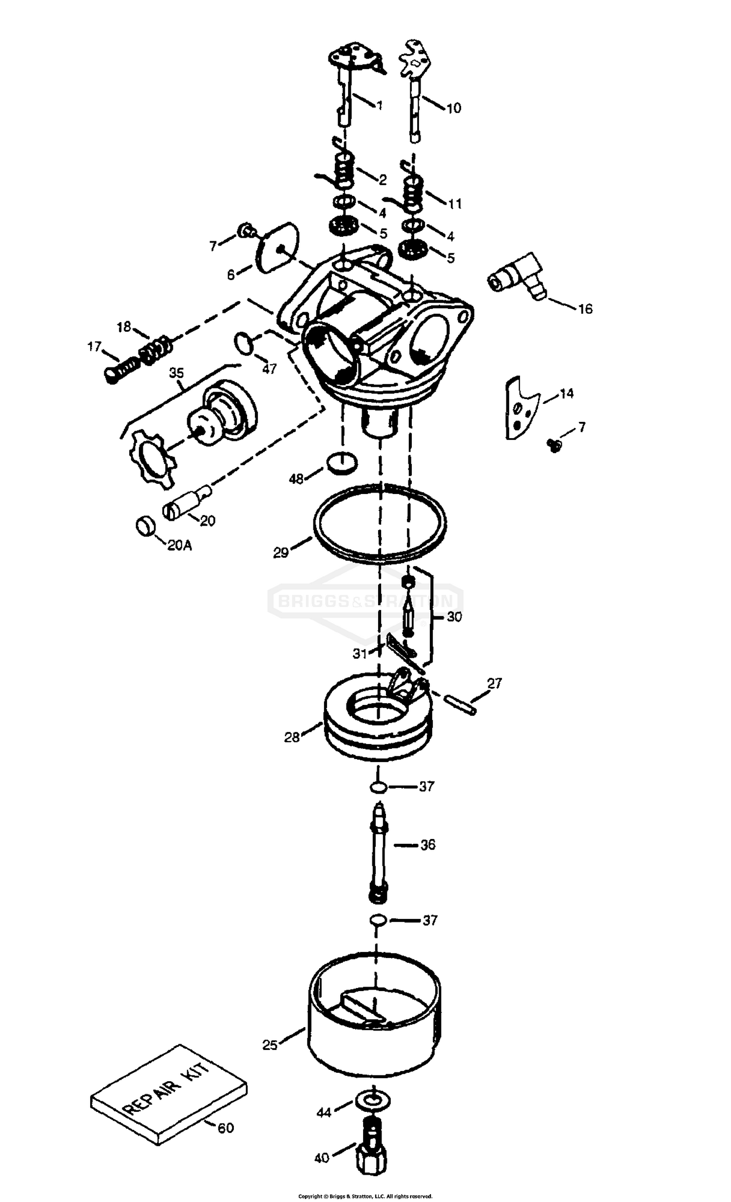
Craftsman Snowblower Carburetor Diagram. They also provide manuals and parts diagrams for almost every model equipment I located the craftsman snowblower carburetor housing. This article will teach you the process of repairing or rebuilding the carburetor in a snowblower. How do I access the carburetor on my Craftsman 24" Snow Thrower. Is the center one an adjustment or can a guy remove it and ... 270-WU Carburetor diagram and repair parts lookup for Craftsman 247.881732 (31AS6BEE799) - Craftsman Snow Thrower (2015) Order Status Customer Support 512-288-4355 My Account Login to your PartsTree.com to view your saved list of equipment. Craftsman Snow Blowers & Snow Throwers parts with OEM Craftsman parts diagrams to find Craftsman Snow Blowers & Snow Throwers repair parts quickly and easily. Order Status Customer Support 512-288-4355 My Account. Login to your PartsTree.com to view your saved list of equipment. Click here for more information . There are no items in your default Equipment list. Manage My Equipment Manage My ... Craftsman 917203810 front-engine lawn tractor parts - manufacturer-approved parts for a proper fit every time! We also have installation guides, diagrams and manuals to help you along the way!
Tecumseh carburetor series 9 is an associated emission that makes use of identical carburetor body as that in the case of series 8 however with a common mounted idle system that is identical to the one used in the case of series 6. 99 Craftsman CMXGTAMD30SA 30cc 4-Cycle 17-Inch wrong, i need a carburetor digram 917 299640 craftsman tiller i need a carburetor diagram 917 299640 craftsman …
http://amzn.to/2eEGVPF Shoot clogging up try this (It works!)http://amzn.to/2eb3JbB Add a snowblower fuel shut offhttp://amzn.to/2eEGJ2T Add an electric star...
Tecumseh Carburetor parts diagram manual troubleshoot. 1). Tecumseh Engine Service and Repair Manuals from Clymer Tecumseh 10 Hp Engines Troubleshooting 1/5 [MOBI] Tecumseh 10 Hp Engines Troubleshooting Tecumseh L-Head Engines-Penton Staff 2000-05-24 Clymer Manuals ProSeries Tecumseh single cylinder, L-head (valves in cylinder block), aluminum engines with 2.
Find parts for your Craftsman SB410 24" Two-Stage Snow Blower CMXGBAM1054541. Parts diagrams and manuals available. Free shipping on parts orders over $45.
diagram for fuel line routing craftsman blower/vac model 358.797770. Report This by richard foresee. January 27th, 2015. ... from the fuel tank to the carburetor. One line goes from the fuel tank to the primer bulb, from the primer bulb to the carburetor, and back to the fuel tank. ... Will a craftsman snow blower 486.24837 fit my 917.258860 ...
Shop great deals on Craftsman Snowblower Parts. Get outdoors for some landscaping or spruce up your garden! ... (82) 82 product ratings - Carburetor Carb for Tecumseh Craftsman MTD Snowblower Snowking parts 640084B. $22.98. Free shipping. or Best Offer. 410-6 Craftsman Snow blower PARTS (rims & tires) Good / Used. $64.99. Free shipping.
Craftsman Snowblower parts that fit, straight from the manufacturer. Use our interactive diagrams, accessories, and expert repair help to fix your Craftsman Snowblower . 877-346-4814. Departments Accessories Appliance Parts Exercise ...
Craftsman Snowblower Carburetor Diagram. A snowblower carburetor is responsible for maintaining and combining the air Make the necessary adjustment to set the desired engine idle-speed of your. This article will teach you the process of repairing or rebuilding the carburetor in a snowblower. If it snows a whole lot where you live, you may find ...
22.11.2021 · Craftsman Model 88970 Snowblower reviews, Craftsman Model 88970 Snowblower prices, Craftsman Model Carburetor Kit For Craftsman Model 247. You'll find a carburetor for your XT1 or XT2 riding mower or 1X, 2X or 3X Snow Blower quickly so you can get back to your lawn and garden care. 99 Oct 09, 2021 · I have a Craftsman 5. tecumseh throttle governor 5 hp hssk50. 3,277.
Carburetor For Craftsman Model 536.886180 Snow Blower. Craftsman Model 536.886180 Snow Blower Shown In Pictures. This Model Has Two Different Carburetors Choose Your Type Of Carburetor. 2 Year Replacement Warranty!
If the engine won't start or shut offs just after starting, then the carburetor could be the problem. Rebuild the carburetor with manufacturer-approved snowblower replacement parts using the steps in this guide. Use these basic steps to rebuild the carburetor on Craftsman, MTD, Troybilt, Husqvarna, Toro, Murray, Noma and Snapper snowblowers.
Mtd Snowblower Carburetor Yard Machine Snowblower Yard Machine Yard A properly operating carburetor is essential to a smooth running engine that is easy to start. Mtd yard machine carburetor diagram. How to clean the carburetor on a yard machines snow blower. Mtd 13a1762f729 2007 exploded view parts lookup by model. Mtd snowblower carburetor parts.
Craftsman Lawn Mower hp Briggs and Stratton Engine Breather Valve with Tube See more like this. B&S Briggs and Stratton Engine carburetor for craftsman hp push power. Brand New · Carburetor. $ Top Rated Plus. Sellers with highest buyer ratings; Returns, money back;. View and Download CRAFTSMAN owner's manual online. Horsepower 21'' Rear Discharge.
How to remove the choke knob to get at the carberetor
Use our part lists, interactive diagrams, accessories and expert repair advice to make your repairs easy. 877-346-4814. Departments ... Repair Parts Home Power Tool Parts Craftsman Parts Craftsman Snowblower Parts Craftsman 536881950 9.5Hp Snowblower Parts.
Our snowblower chute won't turn video troubleshoots problems with the snowblower's chute control system. Check out our articles and videos page for additional troubleshooting help and advice on other gas snowblower issues. Learn how to figure out which parts that you need to select from a snowblower diagram to fix common problems.
Tecumseh 4-Cycle Horizontal HM70-HM80-. 588032 - HH80, 143. The engine will start and run at full throttle but as it running the rpm's will start to fall Snapper Tecumseh 4 hp 2 cycle I have a Tecumseh Engine on a Craftsman mower. Very little rust at all on the engine. Tecumseh Engine Carburetor. 629052 - HH100, 143. 029003 Engine Carburetor. 0.
Craftsman eager 1 lawn mower carburetor diagram. Find great deals on ebay for craftsman eager 1 carburetor. Save craftsman eager 1 lawn mower carburetor to get e mail alerts and updates on your ebay feed. Have a sears craftsman 25hp edger that will start but will not run. Price refinements carousel. Items in search results.
For the snowblower to continue functioning optimally, you need to provide routine maintenance. One of the ways of maintaining it is cleaning the carburetor. If you are like me, your strengths don't lie in opening up machines. The good news is that it's possible to clean a snowblower carburetor without removing it.
Craftsman Snowblower Model 247.887550 Parts. Craftsman Snowblower Model 247.887550 Parts are easily labeled on this page to help you find the correct component for your repair. Filter results by category, title and symptom. You can also view diagrams and manuals, review common problems that may help answer your questions, watch related videos, read insightful articles or use our repair help ...
We have snowblower parts for Craftsman 24" snowblower models such as Craftman 88173 parts. We also have Craftsman 29 inch 90 hp snowblower parts. Enter your Craftsman snow blower model numbers in the search bar and use the exploded parts drawings on our Sears PartsDirect website to easily find the Sears snow thrower parts you need to get your ...
Craftsman 22 inch wheeled trimmer manual Mar 02, 2018 · Weed Eater Leaf Blower v20 axial blower amazoncom craftsman 41bs2bvg799 27cc gas leaf blower with vacuum kit 158 sold by Trimmer Manual PDF Download Shop for CRAFTSMAN Manuals and User Guides for Craftsman 74544 - 12 in. 773740 Owner’s Manual. 21 Owner's Manual CRAFTSMAN - Lawn & Garden Repair Parts Sears PartsDirect …
LotFancy 632334A Carburetor for Tecumseh 632334 632111 640334A 632370A Carburetor, HM70 HM80 HMSK80 HMSK90 Engines, 38080 824 Snow Blower Thrower Craftsman Toro Troybilt Carburetor. 4.4 out of 5 stars. 95. $11.50.
Pro Chaser 247.887801 Carburetor for Craftsman 247.116830 247.887800 Snowblower Fits MTD Yard Machine 31A-2M1E706 31AS2S1E700 31AS2S1E795 Remington RM2100 RM2140 Cub Cadet 31A-2M1E752 Snow Thrower 4.4 out of 5 stars 28
27.11.2021 · Craftsman gt 3000 carburetor. It's been running fine for about 3 years and then it started dying a few minutes after starting up. Craftsman 19. A wiring diagram is a simplified conventional pictorial depiction of an electric circuit. 75 Torque 190cc 22" Briggs & Stratton Push Lawn Mower Owner's Manual. 257281 Owner's Manual Owner's manual (52 pages) Ventrac HP720 Owner/operator's …
0 Response to "44 craftsman snowblower carburetor diagram"
Post a Comment