Iklan 300x250

43 tecumseh snowblower carburetor diagram

Tecumseh Carburetor Guide | Get troubleshooting manual for... Understand Tecumseh Carburetor With Help of Detailed Diagrams. Though carburetors are one of the most complex parts of an engine, but if you are able to retrieve detailed information about them, then you can yourself repair them, service them and keep them in a pristine condition for a long period... Honda snowblower carburetor diagram Honda Snow Blower Carburetors Honda Snow Blower Carburetors: Jack's is your place! We have the Snow Blower Carburetors you need, with fast shipping and great ... Honda HS55 Snowblower Parts -Quick Parts Reference … Our Free Illustrated Parts Diagram Search.

Tecumseh Snowblower Parts You are here: Home > Snow Thrower Parts > Tecumseh Snowblower Parts. TECUMSEH 32401 Fits Models: TECUMSEH H70, HH60, HH70 and HSK70; for 4 thru 7 HP horizontal engines Length: 5 5/8" Width: 2 13/16" Height: 1 5/8.

Tecumseh snowblower carburetor diagram

Tecumseh snowblower carburetor diagram

Carburetor diagram yard machine - Tecumseh Snowblower Snow... Question about Tecumseh Snowblower Snow Blower Starter Handle (Tecumseh). 2 Answers. You can find the belt diagram for the MTD Yard Machine mower in the MTD Owner Manual. The diagram is on page 21. 31840 Tecumseh 8HP Carburetor Rebuild Kit - ProPartsDirect Tecumseh 8HP Carburetor Rebuild Kit Includes: bowl gasket, Needle, Seat, High Speed needle, Welch plugs Used on Tecumseh Engines H25-H70 HH40-HH70 HS40 HS50 HSK35 HSK60 HXL35 LAV35 LAV40 V50-V70 VH70 TVXL105 Toro Snowblowers... TEC-640052 - Tecumseh Carburetor Carburetor Parts Diagram Carburetor diagram and repair parts lookup for Tecumseh TEC-640052 - Tecumseh Carburetor. The Right Parts, Shipped Fast!

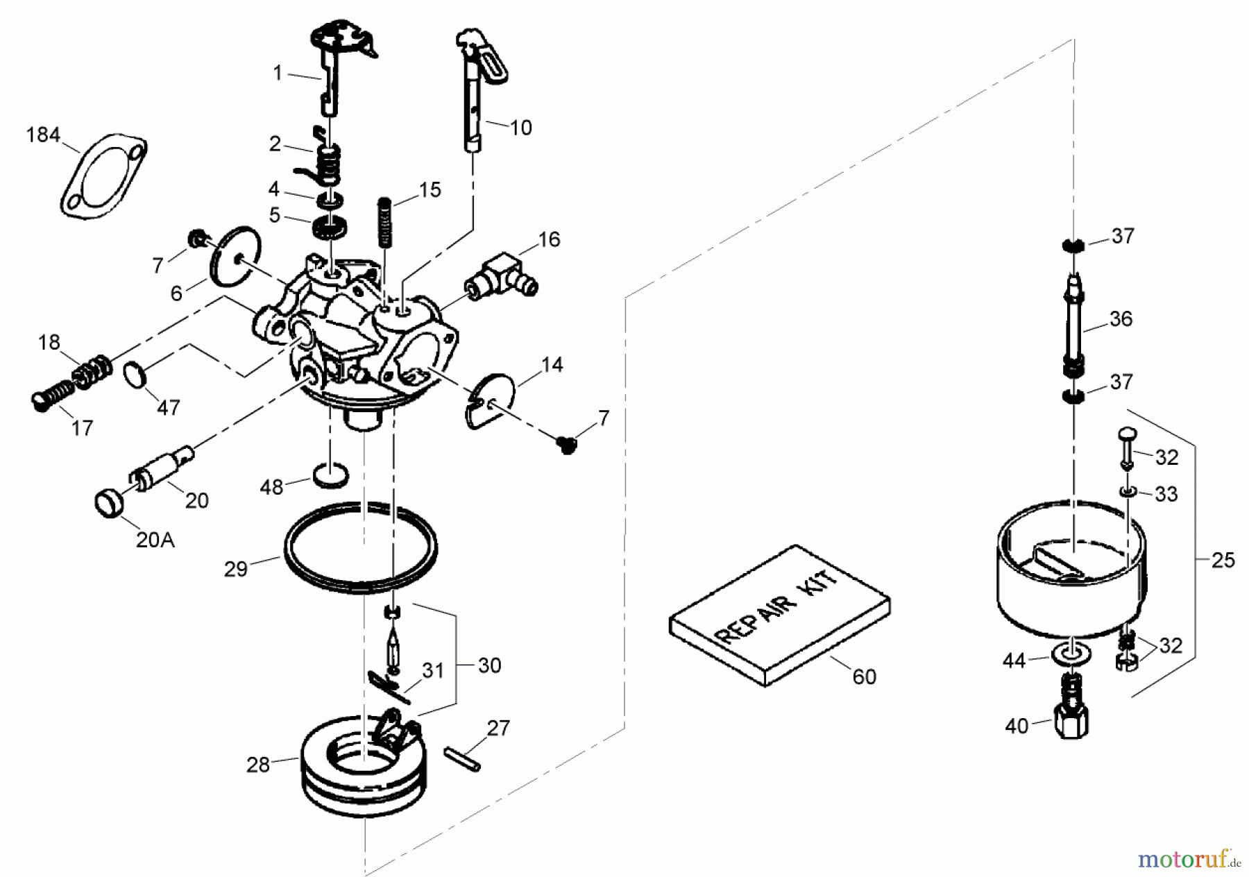
Tecumseh snowblower carburetor diagram. Tecumseh Snowblower Carburetor Repair Tecumseh snowblower carburetor repair. 42:35. How To Rebuild Tecumseh Snow Blower Carburetors with Taryl. This video shows in high 4K detail the cleaning and rebuild of a Tecumseh Snow King snowblower carburetor. Tecumseh Carburetor Linkage Configuration Linkage Configuration on 4-5HP Tecumseh Snowblower Engine With Throttle Lever Here is a video for the configuration with a ... Tecumseh Carburetor Linkage as requested. Not very good video but is a close up. Spring linkage goes to the bottom hole and ... Tecumseh TEC-640349 Parts Diagram for Carburetor Tecumseh TEC-640349 Parts Diagram for Carburetor. Order Status. Get Support. 1-877-737-2787. Hours of Operation. M-F 9a-6p ET. Sat 9a-5p ET. Sun (Closed) Contact Us ». Tecumseh Carburetor Diagram | Tecumseh Carburetor, Parts, Kits... Tecumseh Carburetor Diagram. Posted in Home & Garden by admin on February 13, 2009 7 Comments. My father has one of these snow-blowers and it won't run on a low throttle. He's already changed the gas, etc. He believes it is the carburetor.

Tecumseh Snowblower Carburetor for sale | eBay Get the best deal for Tecumseh Snowblower Carburetor from the largest online selection at eBay.com. | Carburetor Carb Compatible With Tecumseh 8hp 9hp 10hp Snowblower Generator. Tecumseh Carburetor Diagram... | Tecumseh Carburetor Guide The Tecumseh carburetor diagram provided by us is a detailed description of the inside of the carburetor.It makes a lot easier for you to repair and clean it from inside. Tecumseh Carburetor Diagram. Turn screws adjusting both idle and main mixture in (clockwise) finger tight, however over... Tecumseh Carburetor | Snowblower Forum I have a Tecumseh snowblower that needs a carburetor. I'm pretty sure the model number is H50 65173H. According to partstree.com, your carb is Tecumseh # CA-630992B. you can see for yourself here : Parts and Diagrams for Tecumseh H50-65173H Larry. TECUMSEH VLV TECHNICIAN'S HANDBOOK Pdf... | ManualsLib Carburetor Identification Tecumseh carburetors are identified by a manufacturing TORX E-5 Stud number and date code stamped on the carburetor All wiring beyond the 1. If equipped with electric starter, locate wire routing connectors on the engine are supplied by the equip- through blower housing.

Old tecumseh carb problem? | Tech Support Forum I found old Ariens snowblower (1979) with disconnected carburetor. All vire levers are disconnected, but still present (excuse for... Old tecumseh carb problem? Jump to Latest Follow. Thank you, these diagrams are in Tecunseh site, too, but following your link is better quality. Tecumseh 8 Hp Carburetor Diagram - Wiring Diagram Source Tecumseh 8 hp carburetor diagram. Skip to main content. After that slowly back out the screws in a counterclockwise direction to the pre set position. Carburetor for tecumseh 8 10 hp mtd craftsman toro snapper ariens 824 snowblower. Save money and repair it yourself. 8-11hp Tecumseh Carburetor Linkage Configuration - YouTube In this video I show the proper Carburetor and Governor Linkage configuration on the 8hp to 11hp Tecumseh snowblower engine. Visit my channel for more... Tecumseh Hm80 Carburetor Diagram Sep 30, 2018 · Carburetor $ I have a tecumseh hm80 on a snowblower, I completely rebuilt the carb, but it Doe's this carb have three adjustment screws being one for idle. Once you have identified the problem with the Tecumseh HM80 engine, you The diagram of every carburetor model has been listed on the.

Ariens 924079 (ST 824 S) - Ariens 24

Ariens 924079 (ST 824 S) - Ariens 24" Snow Blower, 8hp ...

Amazon.com: Carburetor Carb for Tecumseh H60 H70 HSK60... This item: Carburetor Carb for Tecumseh H60 H70 HSK60 HSK70 Engine Snowblower Replaces#632379 632379A Tecumseh SnowBlower Carburetor. $20.99. In Stock. Sold by Autopartsusa and ships from Amazon Fulfillment.

Vergaser, 2096055 (1999), FC 150 V, Benzinmotoren Kawasaki ...

Vergaser, 2096055 (1999), FC 150 V, Benzinmotoren Kawasaki ...

Where can I get a linkage diagram for a Deere 724D snowblower with... i nee a diagram of the throttle linkage on a adrien snowblower model 922003 with a tecumseh 5 HP engine HS5067168C… read more. I have a John Deere (TRS 27) Snowblower with an 8 hp Tecumseh engine. I am attempting to do a carb kit myself and I am looking for the proper location of...

Amazon.com: Carburetor For Tecumseh Models H60-75543V H60 ...

Amazon.com: Carburetor For Tecumseh Models H60-75543V H60 ...

Tecumseh Service Manual | PDF | Carburetor | Ignition System Tecumseh uses two basic types of carburetors, float and diaphragm type carburetors. Float type carburetors use a hollow float to maintain the operating level of fuel in the Tecumseh carburetors are identified by a manufacturing number and date code stamped on the carburetor as illustrated (diag.

Podoy 640084B Carburetor Carb with Gasket Kit for Tecumseh ...

Podoy 640084B Carburetor Carb with Gasket Kit for Tecumseh ...

Replacement tecumseh carburetor different | My Tractor Forum Need to replace carburetor for a Tecumseh 10HP engine on a Generac Generator. There seems to be plenty of cheap after market carburetors for sale. Replacement tecumseh carburetor different. Jump to Latest Follow.

Tecumseh TEC-640222 Parts Diagram for Carburetor

Tecumseh TEC-640222 Parts Diagram for Carburetor

PDF Tecumseh 8 Hp Motor Manual Snowblower 8 hp Tecumseh ,manual and electric start ,engine starts and runs well ,24 in cut could use a little cleanup and paint on rusty spots $200 consider. Recent Tecumseh Horizontal Tiller Engine 8 Hp, 1" X 2 57/64" Shaft, Tecumseh Engine Repair Manual Cleaning coil and flywheel on 8hp...

Disassembly, Cleaning and Repair of Tecumseh Carb 640342 on a ...

Disassembly, Cleaning and Repair of Tecumseh Carb 640342 on a ...

Carburetor Repair Kit [632760B] for Lawn... | eReplacement Parts This is a genuine Tecumseh carburetor repair kit. It includes the parts that you will need to rebuild your Tecumseh carburetor. Do you have a diagram explaining for all the pieces in the carburetor rebuild kit number 632760B go. We have a diagram of the engine parts available here: https...

This Manual is a FREE Download www.allotment-garden.org

This Manual is a FREE Download www.allotment-garden.org

Tecumseh Carburetor Picture Breakdown - WFMFiles.com This is a basic Tecumseh old-style float type carburetor. This is a basic Tecumseh new-style float type carburetor. When installing the rubber seat for some of these carburetors be sure it is like this.

I have an older Tecumseh 8 hp H80 engine. I disturbed the ...

I have an older Tecumseh 8 hp H80 engine. I disturbed the ...

Tecumseh Carburetors | Lawnmower Pros Pulleys Tecumseh Snowblower Air Filters Tecumseh Snowblower Carburetor Bowls Tecumseh Snowblower Carburetor Floats Tecumseh Snowblower Tecumseh Carburetors available online from Lawn Mower Pros. We are an Authorized Tecumseh Dealer and Service Center carrying a large...

Tecumseh HM80 - Tecumseh hm80 Manual | Tecumseh Carburetor Guide

Tecumseh HM80 - Tecumseh hm80 Manual | Tecumseh Carburetor Guide

DIY - Tecumseh Snowblower Carburetor Throttle Shaft Lever Repair... Carburetor diagram tecumseh. the Carburetor diagram tecumseh help you to defines all its parts and functions the Carburettor made by them. It proves the big help under ...

Tecumseh Part Number 632370A. Carburetor

Tecumseh Part Number 632370A. Carburetor

Tecumseh Snowblower Carburetor Linkage Configuration Linkage Configuration on 4-5HP Tecumseh Snowblower Engine With Throttle Lever Here is a video for the configuration with a ... How to Adjust the Carburetor on your snowblower with a Tecumseh engine.

Tecumseh Model Number Lookup - Weingartz

Tecumseh Model Number Lookup - Weingartz

TEC-640349 - Tecumseh Carburetor Carburetor Parts Diagram Tecumseh Part# 631776A. Throttle Shaft & Lever Assembly. Tecumseh Part# 631970. Throttle Return Spring.

Carburetor For Tecumseh 640090 640341 640311 640342 MFG # 5299 5070 Carb US  New

Carburetor For Tecumseh 640090 640341 640311 640342 MFG # 5299 5070 Carb US New

Tecumseh | Snowblower Carburetor Carburetor for Tecumseh Snowblower H60 H70 HSK60 HSK70 Engine part #632379 632379A Product Description & Features: Condition:Brand New Aftermarket Part Fitment: H60 H70 Hsk60 Hsk70.

HOW TO ADJUST SNOWBLOWER CARBURETOR

HOW TO ADJUST SNOWBLOWER CARBURETOR

Tecumseh Lawnmower Snowblower Engine Floods or Leaks Recently the carburetor on my old Wheelhorse/Toro snowblower started leaking gas (or petrol if you're in the UK) out the intake and flooding the engine. I had stripped the carburetor twice and replaced all the gaskets and O-Rings in an attempt to fix it with no improvement. I went through the...

SOLVED: Need to see the ignition wiring routing on a 8 hp - Fixya

SOLVED: Need to see the ignition wiring routing on a 8 hp - Fixya

Carburetor diagram tecumseh - Schematic diagram | Tecumseh... Small Engine. Mechanical Engineering. Home - A&A Discount Auto Parts. A&A Discount Auto Parts is Hamilton and Canada's Best Source for Discount Auto Parts. Call 905.545.9339 or buy online on our website. thimet82604. T. Kris Meredith. Lawn mowers, Trimmers, Chainsaws, etc.

Buy Carburetor For Tecumseh 8-10 HP MTD/Toro/Snapper/Ariens ...

Buy Carburetor For Tecumseh 8-10 HP MTD/Toro/Snapper/Ariens ...

TECUMSEH THROTTLE AND CARBURETOR LINKAGE Jul 04, 2011 · TECUMSEH THROTTLE AND CARBURETOR LINKAGE According to Joe at Small-Engines.com, this diagram will work for the following models: • TVS90 • TVS100 • TVS115 • TVS120 • OVRM After endless searching for the proper connection of the linkage on my Craftsman mower's engine, I found the answer.

SOLVED: Need carburetor and governor linkage diagram for - Fixya

SOLVED: Need carburetor and governor linkage diagram for - Fixya

Tecumseh Carburetor Diagram Snowblower - Free Catalogs A to Z Tecumseh Carburetor parts, diagram, manual, troubleshoot. 9 hours ago Tecumseh carburetor series 9 is an associated emission that makes use 4 hours ago on Ariens Snowblower Carburetor Diagram. A snowblower carburetor is responsible for maintaining and combining the air Make the...

Tecumseh Carburetor Diagram,Tecumseh Carb Diagram | Tecumseh ...

Tecumseh Carburetor Diagram,Tecumseh Carb Diagram | Tecumseh ...

TEC-640052 - Tecumseh Carburetor Carburetor Parts Diagram Carburetor diagram and repair parts lookup for Tecumseh TEC-640052 - Tecumseh Carburetor. The Right Parts, Shipped Fast!

Tecumseh TEC-631887 - Tecumseh Carburetor Carburetor Parts ...

Tecumseh TEC-631887 - Tecumseh Carburetor Carburetor Parts ...

31840 Tecumseh 8HP Carburetor Rebuild Kit - ProPartsDirect Tecumseh 8HP Carburetor Rebuild Kit Includes: bowl gasket, Needle, Seat, High Speed needle, Welch plugs Used on Tecumseh Engines H25-H70 HH40-HH70 HS40 HS50 HSK35 HSK60 HXL35 LAV35 LAV40 V50-V70 VH70 TVXL105 Toro Snowblowers...

Service and Repair Manual Online: Tecumseh Carburetor Diagram ...

Service and Repair Manual Online: Tecumseh Carburetor Diagram ...

Carburetor diagram yard machine - Tecumseh Snowblower Snow... Question about Tecumseh Snowblower Snow Blower Starter Handle (Tecumseh). 2 Answers. You can find the belt diagram for the MTD Yard Machine mower in the MTD Owner Manual. The diagram is on page 21.

Tecumseh Carburetor Manufacturing Numbers

Tecumseh Carburetor Manufacturing Numbers

Tecumseh TEC-632099 Parts Diagram for Carburetor

Tecumseh TEC-632099 Parts Diagram for Carburetor

Tecumseh carburetor diagrams by Raymond Herrick - Issuu

Tecumseh carburetor diagrams by Raymond Herrick - Issuu

Toro 38559 (1028) - 1028 Power Shift Snowthrower, 2000 ...

Toro 38559 (1028) - 1028 Power Shift Snowthrower, 2000 ...

Buy MDAIRC 632334A Carburetor Primer Bulb for Snow Blower ...

Buy MDAIRC 632334A Carburetor Primer Bulb for Snow Blower ...

Adjustable Carburetor Tecumseh 7hp 8hp 9hp HM70 HM80 Ariens MTD Toro  Snowblower

Adjustable Carburetor Tecumseh 7hp 8hp 9hp HM70 HM80 Ariens MTD Toro Snowblower

Adjustable Carburetor for Tecumseh 8HP 9HP 10HP HMSK80 HMSK90 Snowblower  Carb

Adjustable Carburetor for Tecumseh 8HP 9HP 10HP HMSK80 HMSK90 Snowblower Carb

Carburetor for Tecumseh 7hp 9hp HM70 HM80 Ariens MTD Toro ...

Carburetor for Tecumseh 7hp 9hp HM70 HM80 Ariens MTD Toro ...

Tecumseh Snow Blower HSK35, HSK40, HSSK50 User Guide ...

Tecumseh Snow Blower HSK35, HSK40, HSSK50 User Guide ...

Tecumseh H50-65417L lawn & garden engine parts | Sears ...

Tecumseh H50-65417L lawn & garden engine parts | Sears ...

Tecumseh Carburetor Picture Breakdown

Tecumseh Carburetor Picture Breakdown

SEPC 640084B NEW Carburetor Set Tecumseh 5HP MTD 632107A 632107 640084  640084A Toro 521 Snow Blower HSSK40 HSSK50 HS50 LH195SA - Tecumseh 632107  ...

SEPC 640084B NEW Carburetor Set Tecumseh 5HP MTD 632107A 632107 640084 640084A Toro 521 Snow Blower HSSK40 HSSK50 HS50 LH195SA - Tecumseh 632107 ...

Tecumseh Snowking Vergaser - H50 H60 HH60 5HP 6HP Motor Pflüger Schneefräse

Tecumseh Snowking Vergaser - H50 H60 HH60 5HP 6HP Motor Pflüger Schneefräse

Tecumseh 3.5 hp carburetor diagram | User Guide | Small ...

Tecumseh 3.5 hp carburetor diagram | User Guide | Small ...

Tecumseh Carburetor Picture Breakdown

Tecumseh Carburetor Picture Breakdown

Toro Snowthrower | 38182 | eReplacementParts.com

Toro Snowthrower | 38182 | eReplacementParts.com

MTD Snowblower question. - DoItYourself.com Community Forums

MTD Snowblower question. - DoItYourself.com Community Forums

632371 Carburetor Carb For Tecumseh H70 130233E H70 130233F Snow Blower  Thrower | eBay

632371 Carburetor Carb For Tecumseh H70 130233E H70 130233F Snow Blower Thrower | eBay

Toro Snowblower 826LE Power Max Carburetor TECUMSEH HMSK 80-110 Carb | eBay

Toro Snowblower 826LE Power Max Carburetor TECUMSEH HMSK 80-110 Carb | eBay

640052 Carburetor for Tecumseh 640054 640349 640058 640058A ...

640052 Carburetor for Tecumseh 640054 640349 640058 640058A ...

50-663 Oregon Carburetor Assembly Replaces Tecumseh 632370A

50-663 Oregon Carburetor Assembly Replaces Tecumseh 632370A

Toro 38576 (6053) - CCR 6053 Quick Clear Snowthrower, 2010 ...

Toro 38576 (6053) - CCR 6053 Quick Clear Snowthrower, 2010 ...

Carburetor Carb For Tecumseh 5.5hp Snow King Snowblower LH195SP-67517D 18D  19D | eBay

Carburetor Carb For Tecumseh 5.5hp Snow King Snowblower LH195SP-67517D 18D 19D | eBay

Tecumseh Series 3 Carb Snowblower Linkage

Tecumseh Series 3 Carb Snowblower Linkage

0 Response to "43 tecumseh snowblower carburetor diagram"

Post a Comment

Iklan Atas Artikel

Iklan Tengah Artikel 1

Iklan Tengah Artikel 2

Iklan Bawah Artikel